Search Land - Redevelopment Land in Dublin
Redevelopment Land in Dublin
$1,850,000|Listed: Jul 11, 2025
MLS#999076977
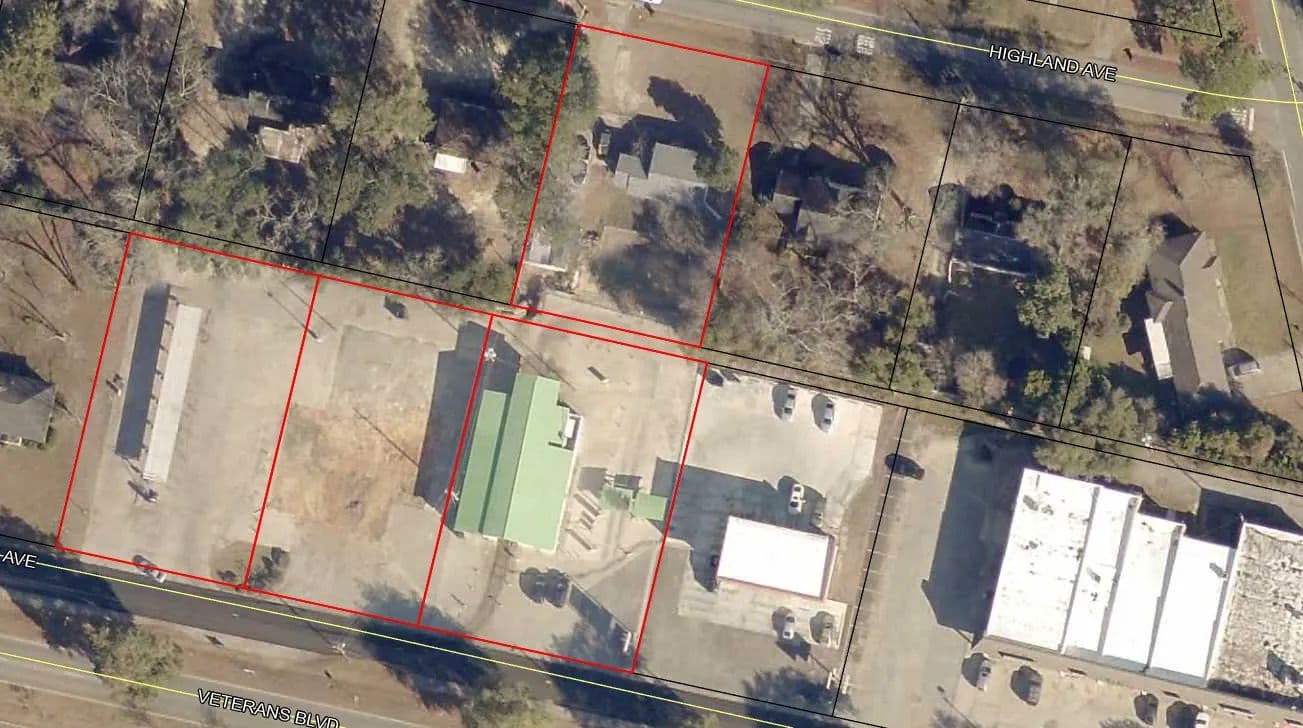
1513 Rice Avenue Veterans Boulevard, Dublin, Georgia
Status:Active
Property Type
- Commercial Acreage
Acreage
1.38 acres
County
, Georgia
Format
Sale
Description
Investment / Redevelopment Opportunity
1.38 Acres Total (4 Lots) Fronts Veterans Blvd.
Leprechaun Car Wash / Single Family Residence
3,010 SF Car Wash (Fully Operational) All equipment in good condition and included in the sale Car wash gross revenue for last 12 months $281,000 Currently operating with 400 monthly club members 1,002± SF Single Family Dwelling Leased for $700 per month Built in 1952 Fronts on Highland Avenue - Backs up to lot facing Rice / Veterans Blvd. 1.38 Acres Total Four contiguous parcels (D10C173, D10C174, D10D142, D10D144) Three lots zoned commercial
Listing Agent

Guy Eberhardt
Co-Op Member Owner
Coldwell Banker Commercial Eberhardt & Barry
By submitting, you agree to our privacy policy and terms.
Want to learn more about our financing options?
Enter your email below to receive free resources and information.
By submitting, you agree to our privacy policy and terms.

More land for sale from this broker
View All
$1,900,000|Listed: Mar 28, 2025
19 Acres
Hawkinsville, Georgia, 31036








